Kobylanka DZIAŁKA SPRZEDAŻ za cenę 320 000 zł - DobryAdres.pl - ogłoszenia nieruchomości Szczecin. Sprzedaż mieszkań, domów, działek i lokali użytkowych.

‹ Wróć do listy ofert

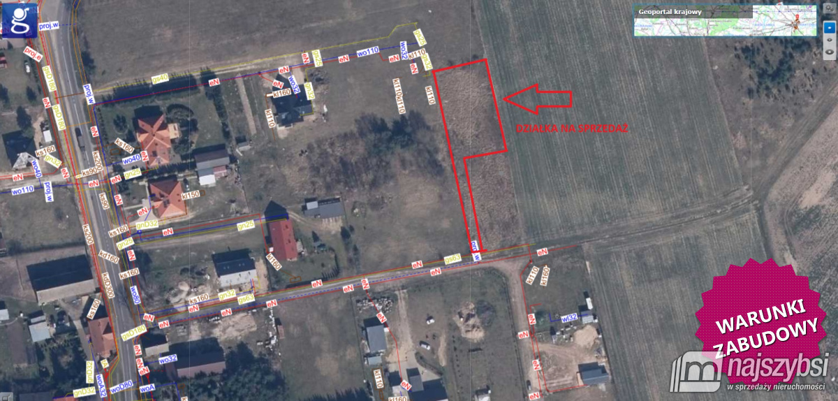
BIELKOWO- Działka z warunkami zabudowy 1450m2

Działka na sprzedaż - Kobylanka, Bielkowo

oferta była przeglądana 156 razy

320 000 PLN notatnik

cena za m2 221 PLN

  • ZDJĘCIA
  • video
BIELKOWO- Działka z warunkami zabudowy 1450m2 (1)BIELKOWO- Działka z warunkami zabudowy 1450m2 (2)BIELKOWO- Działka z warunkami zabudowy 1450m2 (3)BIELKOWO- Działka z warunkami zabudowy 1450m2 (4)BIELKOWO- Działka z warunkami zabudowy 1450m2 (5)BIELKOWO- Działka z warunkami zabudowy 1450m2 (6)BIELKOWO- Działka z warunkami zabudowy 1450m2 (7)BIELKOWO- Działka z warunkami zabudowy 1450m2 (8)BIELKOWO- Działka z warunkami zabudowy 1450m2 (9)BIELKOWO- Działka z warunkami zabudowy 1450m2 (10)BIELKOWO- Działka z warunkami zabudowy 1450m2 (11)BIELKOWO- Działka z warunkami zabudowy 1450m2 (12)BIELKOWO- Działka z warunkami zabudowy 1450m2 (13)
Katarzyna Słomka
(Mikulski Nieruchomości)
nr licencji: 17866

tel.: 884 881 231
email: [email protected]
informacje ogólne
Symbol
5882/MKN/DZS-277940
Cena cena w innych walutach
320 000, 00 PLN
uzbrojenie
Podłączony gaz
informacje dodatkowe
Rodzaj nawierzchni
CICHA ULICA
Opis oferty
Przedmiotem oferty jest ciekawie zlokalizowana działka budowlana z warunkami zabudowy o powierzchni1450m2, usytuowana na równym, płaskim terenie. Na działce istnieje możliwość wybudowania wolno stojącego budynku mieszkalnego jednorodzinnego.
INFORMACJE PODSTAWOWE:
Powierzchnia:1450m2
Kształt działki: prostokąt,
Działka: środkowa,
Wygląd działki: pusta,
Ogrodzona: nie,
Rodzaj ogrodzenia: brak,
Działka zadrzewiona: nie
Warunki glebowe: dobre
Klasa ziemi: RV
Decyzja o warunkach zabudowy: tak
rodzaj budynku: zabudowa mieszkaniowa jednorodzinna
powierzchnia zabudowy: do 20% działki
maksymalna wysokość budynku: 2 kondygnacje, przy czym ostatnia kondygnacja winna się mieścić w poddaszu użytkowym, wysokość od obecnego poziomu terenu do najwyższego punktu dachu w przedziale od 7,0 do 8,5 m, wysokość od poziomu terenu do gzymsu lub okapu w przedziale od 3,0 do 3,5 m.
kąt nachylenia dachu: symetryczny lub dwuspadowy, kąt nachylenia połaci w przedziale od 40 do 45 stopni,
Decyzja o pozwoleniu na budowę: nie ma
POŁOŻENIE:
Odległość od najbliższych zabudowań: 15m
Sąsiedztwo: zabudowa mieszkaniowa jednorodzinna
Droga dojazdowa: utwardzona szutrowa
Rodzaj drogi dojazdowej: Cicha ulica
Dostęp do drogi publicznej: tak
Ukształtowanie terenu: teren płaski

Dostępne media: gaz, prąd, woda, kanalizacja.
WODA: w odległości 150 m, jest projekt
KANALIZACJA: w odległości 150 m,
PRĄD: w drodze, przy działce
GAZ: w drodze, przy działce

Umów się już dziś!
OPIEKUN OFERTY:
RAKOWSKA WIKTORIA
663 309 489
"Opis nieruchomości zawarty w niniejszej ofercie został sporządzony na podstawie informacji przekazanych nam przez stronę sprzedającą. Zwracamy uwagę, że mogą one zawierać błędy lub nieścisłości. W przypadku zainteresowania ofertą zalecamy osobistą weryfikację tych informacji. Oferta ta nie stanowi oferty w rozumieniu przepisu art. 66 i nast. kodeksu cywilnego."
------------------------------------------
Mikulski Nieruchomości - licencjonowana sieć biur nieruchomości. Baza sprawdzonych nieruchomości. Nasza firma posiada 7 oddziałów. Pracujemy w systemach wymiany ofert z biurami nieruchomości na terenie całej Polski. Posiadamy polisę OC. Obsługujemy teren całego województwa zachodniopomorskiego. Nasz skład liczy blisko 40 osób.
Dobierzemy dla Państwa najtańszy kredyt na zakup każdej nieruchomości. Nie musisz kupować z nami nieruchomości, by otrzymać świetny kredyt! W ofercie mamy ponad 20 banków! Zadzwoń po kredyt hipoteczny już dziś: +48 790 588 531
CENTRALA FIRMY:
+48 530 855 003
[email protected]
Nasze oddziały:
Oddział GOLENIÓW
ul. M. Konopnickiej 76
72-100 Goleniów
Tel. +48 91 418 56 57
Oddział STARGARD
ul. Mikołaja Reja 8/1
73-110 Stargard
Tel. +48 91 577 07 57
Oddział NOWOGARD
ul. Bankowa 3B/1
72-200 Nowogard
Tel. +48 91 307 66 87
Oddział SZCZECIN
ul. Łaziebna 1, U1/1
70-557 Szczecin
Tel. +48 91 307 91 64
Oddział ŚWINOUJŚCIE
ul. Gen. J. Bema 7/2 (I piętro)
72-600 Świnoujście
Tel. +48 91 307 89 01
Oddział KOŁOBRZEG
ul. Mariacka 38/2
78-100 Kołobrzeg
Tel. +48 94 700 00 23
Zapraszamy do naszych oddziałów!
www.mikulski-nieruchomosci.pl

:: Oferta wysłana z programu mediaRent (media-rent.eu) ::
Katarzyna Słomka
(Mikulski Nieruchomości)
nr licencji: 17866

884 881 2 (pokaż)
[email protected]

telefon

email

nie wypełniaj

zapytanie

Podobne oferty

notatnik
Ninikowo
315 000 PLN 0 m2
Ninikowo - działki budowlane - WZ w trakcie!
DZIAŁKA NA SPRZEDAŻ Ninikowo,
Przedmiotem sprzedaży są działki budowlane, o numerach 28/12, 28/13, 28/14, 28/15 położone na skraju miejscowości Ninikowo, w gminie Karnice, zaledwie 3 km od morza! Nieruchomość jest w tracie wydawania warunków zabudowy co znacznie ułatwi nowym właścicielom rozpoczęcie budowy. Możliwość sprzedaży wszystkich działek razem - cena w tym przypadku ustalana będzie indywidualnie. INFORMACJE PODSTAWOWE: Powierzchnia: 3019 m2 Kształt działki: nieregularny, prostokąt Działka: skrajna, środkowa, Wygląd działki: pusta, Ogrodzona: nie Działka zadrzewiona: nie, Warunki glebowe: teren suchy Klasa ziemi przy działce rolnej: IVb/V Miejscowy Plan Zagospodarowania Przestrzennego: nie, Decyzja o warunkach zabudowy: w trakcie Decyzja o pozwoleniu na budowę: nie ma POŁOŻENIE: Odległość do najbliższych zabudowań: 100m Sąsiedztwo: zabudowa mieszkaniowa, łąki, sąsiadujący teren - natura 2000 Droga dojazdowa: udział w gruncie, Rodzaj drogi dojazdowej: utwardzona, gruntowa Dostęp do drogi publicznej: tak, poprzez działkę będącą drogą wewnętrzną Odległość do tras krajowych: 2.5 km od drogi 102, Ukształtowanie terenu: teren płaski, MEDIA Dostępne media: prąd, woda, WODA: odległość 50-100 m KANALIZA: brak - szambo/przydomowa oczyszczalnia ścieków GAZ: brak PRĄD: odległość 50 m Zapraszamy do kontaktu i szczegółowego zapoznania się z ofertą: 530-855-011 "Opis nieruchomości zawarty w niniejszej ofercie został sporządzony na podstawie informacji przekazanych nam przez stronę sprzedającą. Zwracamy uwagę, że mogą one zawierać błędy lub nieścisłości. W przypadku zainteresowania ofertą zalecamy osobistą weryfikację tych informacji. Oferta ta nie stanowi oferty w rozumieniu przepisu art. 66 i nast. kodeksu cywilnego." ------------------------------------------ Mikulski Nieruchomości - licencjonowana sieć biur nieruchomości. Baza sprawdzonych nieruchomości. Nasza firma posiada 7 oddziałów. Pracujemy w systemach wymiany ofert z biurami nieruchomości na terenie całej Polski. Posiadamy polisę OC. Obsługujemy teren całego województwa zachodniopomorskiego. Nasz skład liczy blisko 40 osób. Dobierzemy dla Państwa najtańszy kredyt na zakup każdej nieruchomości. Nie musisz kupować z nami nieruchomości, by otrzymać świetny kredyt! W ofercie mamy ponad 20 banków! Zadzwoń po kredyt hipoteczny już dziś: +48 790 588 531 CENTRALA FIRMY: +48 530 855 003 [email protected] Nasze oddziały: Oddział GOLENIÓW ul. M. Konopnickiej 76 72-100 Goleniów Tel. +48 91 418 56 57 Oddział STARGARD ul. Mikołaja Reja 8/1 73-110 Stargard Tel. +48 91 577 07 57 Oddział NOWOGARD ul. Bankowa 3B/1 72-200 Nowogard Tel. +48 91 307 66 87 Oddział SZCZECIN ul. Łaziebna 1, U1/1 70-557 Szczecin Tel. +48 91 307 91 64 Oddział ŚWINOUJŚCIE ul. Gen. J. Bema 7/2 (I piętro) 72-600 Świnoujście Tel. +48 91 307 89 01 Oddział KOŁOBRZEG ul. Mariacka 38/2 78-100 Kołobrzeg Tel. +48 94 700 00 23 Zapraszamy do naszych oddziałów! www.mikulski-nieruchomosci.pl :: Oferta wysłana z programu mediaRent (media-rent.eu) ::
315 000 PLN
Zobacz ofertę
notatnik
POLICE
330 000 PLN 1840 m2
Szczecin-Police Działka inwestycyjno-przemysłowa
DZIAŁKA NA SPRZEDAŻ POLICE,
Szczecin Police -Działka inwestycyjno-przemysłowa 1840m przy ul. Usługowej . Działka posiada wydane warunki zabudowy -tereny produkcyjno - usługowe, przeznaczona na funkcje gospodarcze - produkcja składów, baz i magazynów. Dopuszcza się również obiekty usługowe, które nie kolidują z przemysłowym charakterem terenu z wyłączeniem budynków związanych ze stałym i wielogodzinnym pobytem dzieci i młodzieży. Istnieje możliwość budowy masztów urządzeń telefonii komórkowej. Wielkość powierzchni zabudowy to max 40%, wysokość zabudowy 14 m przy dowolnym rodzaju dachu. Dopuszczono lokalizację obiektów budowlanych infrastruktury technicznej. Doskonała propozycja dla inwestorów. ściślejsza lokalizacja- okolica bunkrów..... media- prąd przy działce, woda daleko - potrzebna studnia. Na działce są drzewa z samosiejki. POLECAMY I ZAPRASZAMY NA PREZENTACJĘ 500 296 440 lub 915780827 lub Magdalena Skworcow 733 906 777 Treść niniejszego ogłoszenia ma charakter informacyjny i może podlegać uzupełnieniom. Szczecin Police - Investment and industrial plot 1840m at ul. Service. The plot has land development conditions - production and service areas, intended for economic functions - production of warehouses, bases and warehouses. Service facilities that do not interfere with the industrial nature of the area are also allowed, with the exception of buildings associated with the permanent and long-lasting stay of children and young people. It is possible to build masts of mobile telephony devices. The size of the built-up area is max 40%, the height of the building is 14 m for any type of roof. The location of technical infrastructure construction objects has been allowed. An excellent proposition for investors. more strict location - the vicinity of the bunkers ..... utilities - electricity in the plot, water far away - a well needed. There are self-seeding trees on the plot. WE RECOMMEND AND WELCOME TO THE PRESENTATION 500 296 440 or 915 780 827 or Magdalena Skworcow 733 906 777 The content of this announcement is informative and may be supplemented. Szczecin Police - Investitions- und Industriegrundstück 1840 m in der ul. Bedienung. Das Grundstück verfügt über Landentwicklungsbedingungen - Produktions- und Dienstleistungsflächen, die für wirtschaftliche Funktionen bestimmt sind - Produktion von Lagern, Stützpunkten und Lagern. Zulässig sind auch Dienstleistungseinrichtungen, die den gewerblichen Charakter des Areals nicht beeinträchtigen, mit Ausnahme von Gebäuden, die dem dauerhaften und dauerhaften Aufenthalt von Kindern und Jugendlichen dienen. Es ist möglich, Mobilfunkmasten zu bauen. Die Größe der bebauten Fläche beträgt max. 40 %, die Gebäudehöhe beträgt 14 m für jede Art von Dach. Die Verortung von Bauobjekten der technischen Infrastruktur wurde zugelassen. Ein hervorragendes Angebot für Investoren. strengere Lage - die Nähe der Bunker ..... Versorgungsunternehmen - Strom auf dem Grundstück, Wasser weit entfernt - ein Brunnen benötigt. Auf dem Grundstück befinden sich selbstaussäende Bäume. WIR EMPFEHLEN UND WILLKOMMEN ZUR PRÄSENTATION 500 296 440 oder 915 780 827 oder Magdalena Skworcow 733 906 777 Der Inhalt dieser Ankündigung ist informativ und kann ergänzt werden. Policía de Szczecin - Terreno de inversión - industrial 1840m en ul. Servicio. La parcela tiene condiciones de desarrollo del terreno - áreas de producción y servicio, destinadas a funciones económicas - producción de almacenes, bases y almacenes. También se permiten instalaciones de servicios que no interfieran con el carácter industrial de la zona, a excepción de las edificaciones asociadas a la estancia permanente y prolongada de nios y jóvenes. Es posible construir mástiles para dispositivos de telefonía móvil. El tamao del área construida es como máximo del 40%, la altura del edificio es de 14 m para cualquier tipo de techo. Se ha permitido la ubicación de obras de construcción de infraestructura técnica. Una excelente propuesta para inversores. ubicación más estricta - la vecindad de los bunkers ..... servicios públicos - electricidad en la parcela, agua lejos - un pozo necesario. En la parcela hay árboles auto sembrados, el propietario puede eliminarlos por su cuenta y con sus mejores esfuerzos, de acuerdo con las necesidades del futuro comprador, incluso aquellos que requieren un permiso debido a su tamao - la circunferencia del tronco - donde plantar otros en lugar de los talados para el permiso. Quizás valga la pena considerar dejar incluso a los solteros: hay que esperar demasiado para que crezcan y siempre disfrutan de su belleza ... y, a veces, dan el frescor deseado frente al sol abrasador. LE RECOMENDAMOS E INVITAMOS A LA PRESENTACIÓN 508 578 666, 500 296 440 o 915 780 827 y 957 650 083 El contenido de este anuncio no constituye una oferta en el sentido del Código Civil, es informativo y puede ser complementado. Polizia di Stettino - Terreno di investimento - industriale 1840 m in ul. Servizio. La trama ha condizioni di sviluppo del terreno - aree produttive e di servizio, destinate a funzioni economiche - produzione di magazzini, basi e magazzini. Sono ammesse anche strutture di servizio che non interferiscano con la natura industriale dell'area, ad eccezione degli edifici legati alla permanenza permanente e duratura di bambini e giovani. possibile realizzare antenne per dispositivi di telefonia mobile. La dimensione dell'abitato max 40%, l'altezza dell'edificio di 14 m per qualsiasi tipo di tetto. L'ubicazione dei lavori di costruzione dell'infrastruttura tecnica stata consentita. Un'ottima proposta per gli investitori. posizione pi rigorosa - la vicinanza dei bunker ..... utenze - elettricit nel terreno, acqua lontana - un pozzo necessario. Sul terreno sono presenti alberi autoseminanti, il proprietario pu rimuoverli a proprie spese e con il massimo impegno, secondo le esigenze del futuro acquirente, anche quelli che necessitano di un permesso a causa delle loro dimensioni - la circonferenza del tronco - dove piantarne altri invece di quelli abbattuti per il permesso. Forse vale la pena considerare di lasciare anche i single: bisogna aspettare troppo perché crescano e godano sempre della loro bellezza... ea volte regalano la frescura desiderata davanti al sole cocente. VI RACCOMANDIAMO E VI INVITIAMO ALLA PRESENTAZIONE 508 578 666, 500 296 440 oppure 915 780 827 e 957 650 083 Il contenuto del presente bando non costituisce offerta ai sensi del Codice Civile, informativo e pu essere integrato. Świat Nieruchomości Krystyna Skworcow sp. z o.o. +48 500 296 440 00(91)5780827 e-mail: [email protected] e-mail: [email protected] e-mail: [email protected] https://swiatnieruchomosci.stargard.pl https://skworcow.com Oferta wysłana z programu dla biur nieruchomości ASARI CRM (asaricrm.com)
330 000 PLN
1840,00 m2 Zobacz ofertę